ہائیڈرولک دھول مہریں سگ ماہی کی مصنوعات میں سے ایک ہے جو سیلوں کو تیار کرسکتی ہے۔ آپ اس قسم کی مصنوعات میں مختلف ماڈلز کے بارے میں جان سکتے ہیں اور ساختی امتزاج بھی بنا سکتے ہیں۔ اگر ضروری ہو تو ، آپ مدد یا اپنی مرضی کے مطابق حل کے لئے بھی ہم سے رابطہ کرسکتے ہیں ، یا نمونہ کی کتاب حاصل کرنے کے لئے ہم سے رابطہ کرسکتے ہیں۔
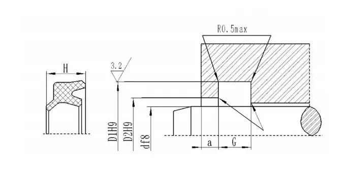
آر سی ایف 01 اور آر سی ایف 02 دو طرفہ دھول مہر ہیں جو اینٹی ویئر پی ٹی ایف ای مواد اور او کے سائز کے ربڑ کی انگوٹھی سے بھرا ہوا ڈبل ہونٹ دھول مہر کی انگوٹھی پر مشتمل ہیں۔ او رنگ پی ٹی ایف ای رنگ کے لباس کی تلافی کے لئے پری لوڈ فورس مہیا کرتا ہے۔ RCF01 ہیوی ڈیوٹی کے مواقع کے لئے موزوں ہے ، جیسے دھول یا سرد ماحول اور اعلی تعدد سے متعلق اعضاء کی تحریک۔ اسپلٹ نالیوں کو 30 ملی میٹر سے کم شافٹ قطر کے لئے استعمال کیا جانا چاہئے۔ RCF02 موشن ، سوئنگ یا سرپل تحریک کے حالات کے لئے موزوں ہے۔
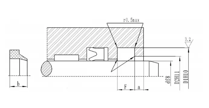
RCF03 ایک طرفہ دھول کی انگوٹھی ہے جس میں پی ٹی ایف ای مواد اور او سائز کی ربڑ کی انگوٹھی سے بھرا ہوا سنگل ہونٹ دھول کھرچنی رنگ پر مشتمل ہے۔ اس کا کام دھول کو ختم کرنا اور نظام کو آلودہ ہونے سے روکنا ہے۔ یہ حرکت ، جھولنے یا سرپل حرکت کے حالات کے ل suitable موزوں ہے۔
آر سی ایف 04 اور آر سی ایف 05 ڈبل ہونٹ دھول کی انگوٹھی ہیں جو ایک سگ ماہی ہونٹ اور ڈسٹ پروف ہونٹ کے ساتھ ایک خاص سائز کی انگوٹھی پر مشتمل ہیں اور دو او رنگوں کے طور پر پری لوڈ عناصر کے طور پر ، جو مجموعی طور پر سگ ماہی کو بہتر بنانے کے لئے استعمال ہوتے ہیں۔ اس میں لمبی زندگی ، کم رگڑ ، کوئی واسکاسیٹی ، اور اعلی وشوسنییتا کی خصوصیات ہیں۔ آر سی ایف 04 بنیادی طور پر زرعی مشینری ، ہائیڈرولک پریس ، انجیکشن مولڈنگ مشینیں ، ہائیڈرولک کنٹرول سسٹم ، فورک لفٹوں ، رولنگ مشینیں ، کرینیں ، اور لوڈنگ اور ان لوڈنگ مشینری میں استعمال ہوتا ہے۔ RCF05 بنیادی طور پر ہائیڈرولک پریس ، انجیکشن مولڈنگ مشینیں ، رولنگ مشینیں ، میٹالرجیکل مشینری وغیرہ میں استعمال ہوتا ہے۔ یہ خاص طور پر بڑے قطر کے پسٹن سلاخوں کے ڈسٹ پروف مہروں کے لئے موزوں ہے۔
ڈی ایچ ایس ڈسٹ رنگ ایک دوہری فنکشن ڈسٹ رنگ ہے ، جس میں اچھا ڈسٹ پروف اثر اور کچھ سگ ماہی آئل فلم فنکشن دونوں ہیں۔ مواد اعلی کارکردگی والی پولیوریتھین ، نائٹریل ربڑ ، اور فلوروربر ہیں۔
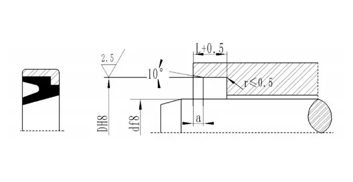
جے کے سائز اور جے اے کے سائز کا استعمال ہائیڈرولک سلنڈر پسٹن کی سلاخوں یا والو تنوں کو دھول کو کھرچنے کے ل. کیا جاتا ہے۔ مواد پولیوریتھین (ٹی پی یو/سی پی یو) اور ربڑ ہیں۔ نالیوں اور مصنوعات کے طول و عرض اور رواداری JB/T6657-93 اور JB/T6656-93 کی تعمیل کرتی ہے۔
ڈسٹ رنگ جی ایس ایم کا استعمال بیرونی آلودگیوں کو ہائیڈرولک سسٹم اور سگ ماہی کے نظام میں گھل مل جانے سے روکنے کے لئے کیا جاتا ہے ، اور وہ ہائیڈرولک آئل کو باہر سے لیک کیے بغیر چکنا کرنے کے نظام میں واپس کرسکتا ہے ، جس کا معاون سگ ماہی کا اثر ہوتا ہے۔ مواد نائٹریل ربڑ ، فلوروربر اور پولیوریتھین ہیں۔
جی پی 1 اور جی پی 6 دھول کی انگوٹھیوں کو ہائیڈرولک سسٹم اور سگ ماہی کے نظام میں گھل مل جانے سے روکنے کے لئے استعمال کیا جاتا ہے۔ مواد نائٹریل ربڑ این بی آر ہے ، اور فلوروربر ایف کے ایم کو اعلی درجہ حرارت پر منتخب کیا جاتا ہے۔ جی پی 6 بنیادی طور پر بڑے قطر پسٹن سلاخوں کی ڈسٹ پروف سگ ماہی کے لئے استعمال ہوتا ہے۔
AF قسم کی دھول کی انگوٹھی دھول ، گندگی ، ریت اور دھات کے چپس کو ہائیڈرولک سلنڈر میں داخل ہونے سے روکنے کے لئے استعمال کی جاتی ہے۔ بیرونی آلودگیوں کی وجہ سے ہونے والی خروںچ کے خطرے کو کم کریں جو سلائڈنگ عناصر میں سرایت کرتے ہیں۔ ڈسٹ پروف رنگ کے ہونٹ کے خصوصی ڈیزائن کے ذریعہ عمدہ ڈسٹ پروف اثر حاصل کیا جاسکتا ہے۔ رنگ میں مضبوط لباس مزاحمت ، چھوٹی مستقل خرابی ، اور بیرونی مکینیکل اثرات کے خلاف مزاحمت کی خصوصیات ہیں۔ سگ ماہی نالی اور دھات کے بیرونی قطر کے درمیان مداخلت فٹ کا استعمال کرکے محوری کھلی نالی کی مناسب پوزیشن میں ڈسٹ پروف رنگ کی انگوٹھی مضبوطی سے نصب کی جاسکتی ہے۔ فٹ فلش ہے ، لہذا بیرونی وجوہات کی وجہ سے ہونے والے نقصان کے خلاف ہونٹ انتہائی حفاظتی ہے۔ انجینئرنگ کے نقطہ نظر سے ، اے ایف ٹائپ ڈسٹ پروف رنگ ایک مناسب سلنڈر ہیڈ سیلنگ آلہ ہے۔
مصنوعات کی خصوصیات اور ایپلی کیشنز:
ترتیب دینے کی مثال:
آرڈر ماڈل RCF01-80-PTFE3-R01
RCF01-ماڈل 80 شافٹ ویاس PTFE3-جنرل میں ترمیم شدہ PTFE R01-MATHING ربڑ میٹریل کوڈ
نائٹریل ربڑ (این بی آر)-R01 فلوروربر (ایف کے ایم) -R02
آرڈر ماڈل RCF02-80-PTFE3-R01
RCF02-ماڈل 80 شافٹ ویاس PTFE3-یونیورسل ترمیم شدہ PTFE R01-MATHING RUBRING مواد کوڈ
نائٹریل ربڑ (این بی آر)-R01 فلوروربر (ایف کے ایم) -R02
آرڈر ماڈل RCF03-80-PTFE3-R01
RCF03-ماڈل 80 شافٹ ویاس PTFE3-یونیورسل ترمیم شدہ PTFE R01-MATHING RUBLION مواد کوڈ
نائٹریل ربڑ (این بی آر)-R01 فلوروربر (ایف کے ایم) -R02
آرڈر ماڈل RCF04-80-PTFE3-R01
RCF04-ماڈل 80 شافٹ قطر PTFE3-یونیورسل میں ترمیم شدہ PTFE R01-MATHING RUBRIB MATIRE CODE
نائٹریل ربڑ (این بی آر) -R01 فلوروربر (ایف کے ایم) -R02
آرڈر ماڈل RCF05-80-PTFE3-R01
RCF05-ماڈل 80 شافٹ ویاس PTFE3-جنرل ترمیم شدہ PTFE RO1-MATHING RUBLION MATIRE CODE
نائٹریل ربڑ (این بی آر) -R01 فلوروربر (ایف کے ایم) -R02
آرڈر ماڈل: DHS-130*143*8/9.5-r01 d*d1*g/h
جے قسم کی دھول مہر
جے اے ٹائپ ڈسٹ سیل
جی ایس ایم
ڈسٹ سیل جی ایس ایم کو آرڈر نمبر کے ساتھ نشان زد کیا گیا ہے ، مثال کے
جی پی 1
نشان زد کرنے کی مثال: GP1-70*82*4/8 ماڈل-D*D*l/h
جی پی 6
مارکنگ کا طریقہ: GP6-70*80.6*5.3/7 ماڈل-D*D*l/h
کے
ڈی کے بی
وضاحتیں
RCF01| شافٹ قطر کی حد D f8 |
نالی قطر D H9 |
نالی کی چوڑائی L+0.2 |
سوراخ قطر کھولیں ڈی1H11 | سوراخ کی چوڑائی a دن |
گول کونے r≤ |
او رنگ تار قطر ڈیO |
| 19 ~ 39 | D+7.6 | 4.2 | D+1.5 | 3 | 0.8 | 2.65 |
| 40 ~ 69 | D+8.8 | 6.3 | D+1.5 | 3 | 0.8 | 2.65 |
| 70 ~ 139 | D+12.2 | 8.1 | D+2.0 | 4 | 0.8 | 3.55 |
| 140 ~ 399 | D+16.0 | 9.5 | D+2.5 | 5 | 1.5 | 5.30 |
| 400 ~ 649 | D+24.0 | 14.0 | D+2.5 | 8 | 1.5 | 7.00 |
| 650 ~ 1500 | D+27.3 | 16.0 | D+2.5 | 10 | 2.0 | 8.60 |
| شافٹ قطر کی حد D f8 |
نالی قطر D H9 |
نالی کی چوڑائی L+0.2 |
سوراخ قطر کھولیں ڈی1H11 | سوراخ کی چوڑائی a دن |
گول کونے r≤ |
او رنگ تار قطر ڈیO |
| 4 ~ 11 | D+4.8 | 3.7 | D+1.5 | 2 | 0.4 | 1.80 |
| 12 ~ 64 | D+6.8 | 5.0 | D+1.5 | 2 | 0.7 | 2.65 |
| 65 ~ 250 | D+8.8 | 6.0 | D+1.5 | 3 | 1.0 | 3.55 |
| 251 ~ 420 | D+12.2 | 8.4 | D+2.0 | 4 | 1.5 | 5.30 |
| 421 ~ 650 | D+16.0 | 11.0 | D+2.0 | 4 | 1.5 | 7.00 |
| 651 ~ 1500 | D+20.0 | 14.0 | D+2.5 | 5 | 2.0 | 8.60 |
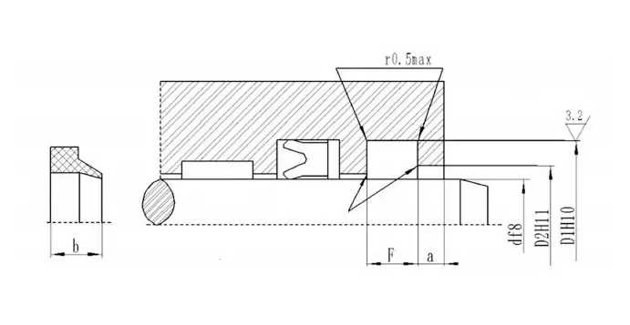
| شافٹ قطر کی حد D f8 |
نالی قطر ڈی ایچ 9 |
مرحلہ قطر D1 H11 |
نالی کی چوڑائی L+0.2 |
مجموعی طور پر چوڑائی L1 |
گول کونے rmax |
چیمفر لمبائی زیمین |
| 20 ~ 39.9 | D+7.6 | D+1 | 4.2 | 8.2 | 0.4 | 3 |
| 40 ~ 69.9 | D+8.8 | D+1.5 | 6.3 | 10.3 | 1.2 | 4 |
| 70 ~ 139.9 | D+12.2 | D+2.0 | 8.1 | 12.1 | 2 | 6 |
| 140 ~ 399.9 | D+16.0 | D+2.0 | 11.5 | 15.5 | 2 | 8 |
| 400 ~ 649.9 | D+24.0 | D+2.5 | 15.5 | 19.5 | 2 | 10 |
| 650 ~ 1000 | D+27.3 | D+2.5 | 18.0 | 23.0 | 2 | 12 |
| شافٹ قطر کی حد D f8 |
نالی قطر ڈی ایچ 9 |
مرحلہ قطر D1 H11 |
نالی کی چوڑائی L+0.2 |
سائیڈ چوڑائی L1 |
گول کونے rmax |
چیمفر لمبائی زیمین |
| 100 ~ 229 | D+22.2 | D+10.7 | 6.3 | 4.2 | 1.2 | 6 |
| 230 ~ 299 | D+24.2 | D+10.7 | 6.3 | 4.2 | 1.2 | 8 |
| 300 ~ 629 | D+33.0 | D+15.1 | 8.1 | 6.3 | 1.2 | 10 |
| 630 ~ 1000 | D+36.5 | D+15.1 | 9.5 | 6.3 | 2 | 12 |
| مصنوعات کا نمبر | d | D1 | H | G+0.3 | D2 | a |
| ڈی ایچ ایس 12 | 12 | 20 | 6 | 5 | 16.3 | 2 |
| ڈی ایچ ایس 14 | 14 | 22 | 6 | 5 | 18.3 | 2 |
| ڈی ایچ ایس 16 | 16 | 24 | 6 | 5 | 20.3 | 2 |
| ڈی ایچ ایس 18 | 18 | 26 | 6 | 5 | 22.3 | 2 |
| ڈی ایچ ایس 20 | 20 | 28 | 6 | 5 | 24.3 | 2 |
| ڈی ایچ ایس 22 | 22 | 30 | 6 | 5 | 26.3 | 2 |
| ڈی ایچ ایس 25 | 25 | 33 | 6 | 5 | 29.3 | 2 |
| ڈی ایچ ایس 28 | 28 | 36 | 6 | 5 | 32.3 | 2 |
| ڈی ایچ ایس 30 | 30 | 38 | 6.5 | 6 | 34 | 2 |
| ڈی ایچ ایس 32 | 32 | 40 | 6.5 | 6 | 36 | 2 |
| ڈی ایچ ایس 35 | 35 | 43 | 6.5 | 6 | 39 | 2 |
| ڈی ایچ ایس 38 | 38 | 46 | 6.5 | 6 | 42 | 2 |
| ڈی ایچ ایس 40 | 40 | 48 | 6.5 | 6 | 44 | 2 |
| ڈی ایچ ایس 45 | 45 | 53 | 6.5 | 6 | 49 | 2 |
| ڈی ایچ ایس 48 | 48 | 56 | 6.5 | 6 | 52 | 2 |
| ڈی ایچ ایس 50 | 50 | 58 | 6.5 | 6 | 54 | 2 |
| ڈی ایچ ایس 55 | 55 | 63 | 6.5 | 6 | 59 | 2 |
| ڈی ایچ ایس 56 | 56 | 64 | 6.5 | 6 | 60 | 2 |



























































پتہ
نمبر۔
ٹیلی فون
ای میل