روچین مہروں کی بنیادی ہائیڈرولک مہروں میں بنیادی طور پر کئی قسم کے مہر شامل ہیں ، جن میں سے ہر ایک اپنے فوائد کے ساتھ ہے۔ O-RINGs ان کی کم مینوفیکچرنگ لاگت اور آسان استعمال کی وجہ سے مختلف متحرک اور جامد سگ ماہی کے مواقع میں بڑے پیمانے پر استعمال ہوتے ہیں۔ زیادہ تر ممالک نے او رنگز کے ل product مصنوعات کے معیارات کا ایک سلسلہ مرتب کیا ہے ، جن میں امریکی معیار (AS568) ، جاپانی معیار (JISB2401) اور بین الاقوامی معیار (ISO 3601/1) زیادہ عام ہیں۔ قومی معیار GB3452.1 اور GB1235 ہیں۔
ستارے کے سائز کی مہر کی انگوٹھی ایک چار ہونٹ مہر ہے جس میں ایکس سائز کی شکل ہے ، لہذا اسے ایکس سائز کی انگوٹھی بھی کہا جاتا ہے۔ یہ او رنگ کی بنیاد پر بہتری اور اضافہ ہے۔ اس کے کراس سیکشنل طول و عرض امریکہ کے او رنگ کی طرح ہیں جیسا کہ 568a معیار ہے ، اور یہ بنیادی طور پر او رنگ کے استعمال کو تبدیل کرسکتا ہے۔
ستارے کی انگوٹھی کے فوائد
او رنگز کے مقابلے میں ، اسٹار کی انگوٹھیوں میں رگڑ مزاحمت کم ہوتی ہے اور کم شروعاتی مزاحمت ہوتی ہے کیونکہ وہ سگ ماہی کے ہونٹوں کے مابین چکنا کرنے والی گہا تشکیل دیتے ہیں۔ چونکہ اس کا فلیش ایج کراس سیکشن کے مقعر حصے میں واقع ہے ، لہذا سگ ماہی کا اثر بہتر ہے۔ غیر سرکلر کراس سیکشن باہمی حرکت کے دوران مؤثر طریقے سے رولنگ رجحان سے پرہیز کرتا ہے۔
اسٹار رنگ کام کرنے کا طریقہ کار
اسٹار رنگ ایک خود سخت ڈبل اداکاری کرنے والا سگ ماہی عنصر ہے۔ شعاعی اور محوری قوتیں نظام کے دباؤ پر منحصر ہیں۔ جیسے جیسے دباؤ میں اضافہ ہوتا ہے ، ستارے کی انگوٹی کی کمپریشن اخترتی میں اضافہ ہوگا ، اور سگ ماہی کی کل قوت میں اضافہ ہوگا ، اس طرح ایک قابل اعتماد مہر تشکیل دے گا۔
ستارے کے سائز کی مہر کی انگوٹھی کا انتخاب کیسے کریں
اگر شافٹ اور سوراخ کا قطر معلوم ہے تو ، درج ذیل معیار کے مطابق مناسب ستارے کے سائز کی مہر کی انگوٹھی منتخب کریں:
1. جامد سگ ماہی یا باہمی خطی تحریک: (1) سوراخ سگ ماہی: ستارے کے سائز کی انگوٹھی کا اندرونی قطر نالی کے ساتھ مطابقت پذیر ہونا چاہئے ، یا نالی کے نیچے قطر کے تقریبا 2 2 ٪ سے بھی کم۔ کیونکہ پری کمپریشن کے ذریعہ تیار کردہ پری کمپریشن فورس اسٹار کے سائز کی مہر کی انگوٹھی کو مؤثر طریقے سے گھومنے اور رولنگ سے روک سکتی ہے۔ (2) شافٹ سگ ماہی: ستارے کے سائز کی انگوٹھی کا اندرونی قطر شافٹ کے بیرونی قطر سے تقریبا 0.2 ~ 0.3 ملی میٹر کے برابر یا مناسب طور پر بڑا ہونا چاہئے ، یا یہ شافٹ کے بیرونی قطر سے تقریبا 1 ٪ بڑا ہوسکتا ہے۔ اس کے نتیجے میں ، مہر کی انگوٹھی انسٹال کرنا آسان ہوجائے گی اور طویل خدمت کی زندگی گزاریں۔
2. روٹری سگ ماہی: ستارے کے سائز کی انگوٹھی کا اندرونی قطر شافٹ کے قطر سے تقریبا 2 ~ 5 ٪ بڑا ہونا چاہئے۔ کیونکہ مہر کی انگوٹھی گھومنے والی حرکت میں استعمال ہونے پر رگڑ اور حرارت پیدا کرے گی ، اور گرم ہونے پر ربڑ سکڑ جائے گا (جوول اثر)۔ لہذا ، اس بات کو یقینی بنانے کے لئے کہ مہر کی انگوٹھی چکنا اور قابل اعتماد طریقے سے کام کرسکے ، شافٹ قطر سے زیادہ اندرونی قطر کے ساتھ ایک ستارے کی شکل کی انگوٹھی منتخب کی جانی چاہئے۔ عام طور پر ، ایک چھوٹا کراس سیکشن والی مہر کی انگوٹھی جامد سگ ماہی کی ضروریات کو پورا کرسکتی ہے۔ اس کے برعکس ، متحرک مہر کو پورا کرنے کے لئے ایک بڑے کراس سیکشن کے ساتھ ایک مہر کی انگوٹھی منتخب کی جانی چاہئے۔ ہائی پریشر یا بڑے خلاء کی صورت میں ، اعلی سختی کے ساتھ ربڑ کا مواد منتخب کرنا ضروری ہے۔ ہائی پریشر اخراج کو پہنچنے والے نقصان کو روکنے کے لئے پی ٹی ایف ای برقرار رکھنے والی انگوٹھی شامل کرنا بہترین طریقہ ہے۔
لیپت او رنگ باضابطہ طور پر لچک اور ربڑ کی سگ ماہی کو ٹیفلون کی کیمیائی مزاحمت کے ساتھ جوڑتا ہے۔ یہ سلیکون یا فلوروربربر اندرونی کور اور نسبتا thin پتلی ٹیفلون ایف ای پی یا ٹیفلون پی ایف اے بیرونی کوٹنگ پر مشتمل ہے۔
مواد: ٹیفلون ایف ای پی اور ٹیفلون پی ایف اے بنیادی طور پر ایک جیسے ہیں ، لیکن ٹیفلون پی ایف اے میں ٹیفلون ایف ای پی سے بہتر درجہ حرارت کی مزاحمت بہتر ہے۔ قابل اطلاق درجہ حرارت کی حد ٹیفلون ایف ای پی شیل: -60 ℃ ~ 205 ℃ مختصر وقت کے لئے ٹیفلون پی ایف اے شیل کے لئے 260 at پر استعمال کیا جاسکتا ہے: -60 ℃ ℃ 260 ℃ مختصر وقت کے فوائد کے لئے 300 at پر استعمال کیا جاسکتا ہے:
1. بقایا کیمیائی مزاحمت ، تقریبا all تمام کیمیائی میڈیا کے لئے موزوں ہے
2. درجہ حرارت کی وسیع حد
3. اچھی کمپریشن مزاحمت
4. اینٹی رگڑ
5. اچھی اینٹی سائلنگ
6. اعلی دباؤ کی مزاحمت
7. عمدہ سگ ماہی استحکام اور طویل خدمت زندگی
اطلاق: پمپ اور والوز ، رد عمل کے برتن ، مکینیکل مہریں ، فلٹرز ، پریشر برتن ، ہیٹ ایکسچینجر ، بوائیلرز ، پائپ لائن فلانگس ، گیس کمپریسرز وغیرہ۔
ایپلیکیشن انڈسٹریز: کیمیائی صنعت ، ہوائی جہاز کی تیاری ، دواسازی کی صنعت ، تیل اور کیمیائی نقل و حمل اور تطہیر ، فلمی صنعت ، ریفریجریشن انجینئرنگ ، فوڈ پروسیسنگ انڈسٹری ، پیپر میکنگ انڈسٹری ، ڈائی مینوفیکچرنگ ، پینٹ اسپرےنگ ، وغیرہ۔
انگوٹھیوں کو سیل کرنے کے لئے تنصیب کی ہدایات
1. جن حصوں میں سگ ماہی کی انگوٹھی لگائی جاتی ہے یا گزر جاتی ہے وہ ہموار ، نالیوں اور تیز کونے سے پاک ہونی چاہئے۔ اندرونی سوراخ کی کھردری 1.6μ تک پہنچنا چاہئے اور شافٹ کی کھردری 0.8um تک پہنچنا چاہئے۔
2. سگ ماہی کی انگوٹھی اور رابطے میں متعلقہ حصوں کی سطح کو چکنا کرنے کے لئے صاف ہلکا تیل یا چکنائی لگائیں۔
3. اگر شافٹ پر سگ ماہی کی انگوٹھی لگانا مشکل ہے تو ، اسے بڑھانے کے لئے کچھ منٹ کے لئے گرم پانی میں غرق کریں۔ یہ نرم اور توسیع شدہ او رنگ انسٹال کرنا آسان ہے۔ جب گرم ہو تو O- رنگ انسٹال کریں ، اور ٹھنڈا ہونے کے بعد اس کا سائز اپنے اصل سائز میں واپس آجائے گا۔
4. او رنگ کو زیادہ پر تشدد سے نہ موڑیں ، بصورت دیگر یہ ٹیفلون میں جھریاں پیدا کرے گا اور اس کے استعمال کو متاثر کرے گا۔
لیپت او رنگ کی تجویز کردہ کمپریشن مندرجہ ذیل ہے:
جامد سگ ماہی کی حالت: 15 ٪ -20 ٪
متحرک سگ ماہی ریاست: 10 ٪ -12 ٪
نیومیٹک ریاست: 7 ٪ -8 ٪
اصل کمپریشن کو کام کے حالات ، خاص طور پر سیل کرنے والے کام کے دباؤ اور دیگر عوامل کو بھی مدنظر رکھنا چاہئے۔
مصنوعات کی خصوصیات اور ایپلی کیشنز:
| او رنگ کی کارکردگی کا پیرامیٹر ٹیبل |
|
|
|
|
جامد مہر | متحرک مہر |
| ورکنگ پریشر | رنگ برقرار رکھے بغیر ، 20 ایم پی اے میکس برقرار رکھنے کی انگوٹھی کے ساتھ ، 40 ایم پی اے میکس ، خصوصی برقرار رکھنے والی رنگ 200 ایم پی اے میکس | رنگ برقرار رکھنے کے بغیر ، 5MPA زیادہ سے زیادہ رنگ برقرار رکھنے کے ساتھ ، زیادہ دباؤ |
| رفتار | 0.5m/s زیادہ سے زیادہ سے زیادہ ، 2m/s زیادہ سے زیادہ گھومتے ہوئے | |
| درجہ حرارت | عام استعمال: -30 ~+110 ، خصوصی ربڑ: -60 ~+250 ، گھوم رہا ہے: -30 ~+80 | |
| میڈیم | مواد کا سیکشن دیکھیں | |
| معیار | او رنگ کراس سیکشن قطر ڈبلیو |
|
|||||
| امریکی معیار 568 کے طور پر برٹش اسٹینڈرڈ بی ایس 1516 | 1.78 | 2.62 | 3.52 | 5.33 | 6.99 | - | |
| جاپانی معیاری یہ B2401 | 1.9 | 2.4 | 3.1 | 3.5 | 5.7 | 8.4 | |
| بین الاقوامی معیار آئی ایس او 3601/1 جرمن معیاری DIN 3771/1 چینی معیاری سی بی 3452.1 | 1.8 | 2.65 | 3.55 | 5.30 | 7.00 | - | |
| ترجیحی میٹرک سائز | 1.0 | 1.5 | 2.0 | 2.5 | 3.0 | 3.5 | |
| 4.0 | 4.5 | 5.0 | 5.5 | 6.0 | 7.0 | ||
| 8.0 | 10.0 | 12.0 |
|
|
|
||
| امریکی معیار 568 کے طور پر (900 سیریز) | 1.02 | 1.42 | 1.63 | 1.83 | 1.98 | 2.08 | |
| 2.21 | 2.46 | 2.95 | 3.00 |
|
|
|
|
| ستارے کی انگوٹھیوں کی درخواست کی حد بہت وسیع ہے۔ درجہ حرارت ، دباؤ اور درمیانے درجے کے مطابق صحیح مواد کا انتخاب کریں۔ اسٹار رنگ کو کسی دیئے گئے درخواست کے مطابق ڈھالنے کے ل all ، کام کرنے والے تمام پیرامیٹرز کے مابین باہمی رکاوٹوں پر غور کیا جانا چاہئے۔ درخواست کی حد کا تعین کرتے وقت ، چوٹی کا درجہ حرارت ، مستقل کام کرنے والے درجہ حرارت اور آپریٹنگ سائیکل پر غور کرنا چاہئے۔ گھومنے والی ایپلی کیشنز میں ، رگڑ گرمی کی وجہ سے درجہ حرارت میں اضافے پر بھی غور کرنا چاہئے۔ | |||||
| تکنیکی پیرامیٹرز | متحرک مہر | جامد مہر |
|
||
| باہمی حرکت | گھومنے والی حرکت |
|
|||
| ورکنگ پریشر (ایم پی اے) | برقرار رکھنے کی انگوٹھی کے ساتھ | 30 | 15 | 40 |
|
| رنگ برقرار رکھنے کے بغیر | 5 | - | 5 |
|
|
| رفتار (میسرز) | 0.5 | 2.0 | - |
|
|
| درجہ حرارت (℃) | عام مواقع: -30 ℃ ~+110 ℃ |
|
|||
| خصوصی مواد: -60 ℃ ~+200 ℃ |
|
||||
| گردش کے مواقع: -30 ℃ ~+80 ℃ |
|
||||
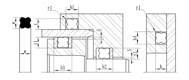
اسٹار رنگ مواد:
مواد عام طور پر شا اے 70 نائٹریل ربڑ این بی آر ہے۔
لیپت او رنگ:
انکپسولیٹڈ او رنگ کی نالی کا اسکیمیٹک آریھ
انکپسولیٹڈ او رنگ (تجویز کردہ) کے نالی کا طول و عرض جدول
| تار قطر d | a (ملی میٹر) | بی (ملی میٹر) | ||
| جامد مہر | متحرک مہر | نیومیٹک مہر | ||
| 1.78 | 2.36/2.49 | 1.42/1.52 | 1.55/1.60 | 1.63/1.65 |
| 2.62 | 3.56/3.68 | 2.08/2.21 | 2.29/2.36 | 2.39/2.44 |
| 3.53 | 4.75/4.88 | 2.82/3.00 | 3.10/3.18 | 3.22/3.28 |
| 5.33 | 7.14/7.26 | 4.27/4.52 | 4.67/4.80 | 4.90/4.95 |
| 6.99 | 9.63/9.65 | 5.59/5.89 | 6.15/6.27 | 6.43/6.48 |
روچین مہر پی ٹی ایف ای مہر انسٹالیشن گائیڈ
ⅰ. انسٹالیشن گائیڈ
1. مہر کو دباؤ کی سمت کا سامنا کرتے ہوئے ، پری لوڈڈ سائیڈ پر نصب کرنا ضروری ہے۔
2. سلنڈر باڈی اور پسٹن چھڑی کو پش ان چیمفرز کے ساتھ بنانا چاہئے جو ہماری کمپنی کے نمونے کی ضروریات کو پورا کرتے ہیں۔
3. تیز دھاروں کو لازمی طور پر بروں سے پاک اور گول یا چیمفرڈ ہونا چاہئے۔
4. دھاگے ، گائیڈ رنگ کی نالیوں وغیرہ کو ڈھانپ لیا جانا چاہئے ، کیونکہ مہر کو نالیوں ، کھودے ہوئے سوراخوں یا کھردری سطحوں کے ذریعے نہیں دھکیل دیا جاسکتا ہے۔
5. کسی بھی دھول ، ملبے یا دیگر غیر ملکی ذرات کو احتیاط سے ہٹانا چاہئے۔
6. تیز دھاروں والے اوزار استعمال نہیں کیے جائیں۔
7. پی ٹی ایف ای سگ ماہی کی انگوٹھی گرم تیل یا پانی (تقریبا 80 80 ~ 120 ڈگری) میں پھیلانا آسان ہے اور ان کی اصل شکل کو بحال کرنا آسان ہے۔
8. اگر مہر کے ہونٹ کو تیل کے دباؤ کے سوراخ سے گزرنے کی ضرورت ہے تو ، پلاسٹک کی چھڑی کو آہستہ سے ہونٹ کو دھکیلنے کے لئے استعمال کیا جانا چاہئے تاکہ سوراخ کے چیمفر کو سگ ماہی کے ہونٹ کو نقصان پہنچائے۔ سلنڈر کے سوراخوں کو چیمفیر کیا جانا چاہئے۔ (شکل 3)
ⅱ. تنصیب کا طریقہ
اوپن (اسپلٹ) نالیوں کو ٹولز کے بغیر انسٹال کیا جاسکتا ہے۔
بند نالی پسٹن چھڑی مہروں کی تنصیب (شکل 1)
1. صاف اور تیل تمام مہروں ، مہروں اور تنصیب کے اوزار۔
2. ربڑ کی انگوٹھی کو نالی میں رکھیں (محتاط رہیں کہ اسے مروڑ نہ کریں)۔
3. پی ٹی ایف ای مہر کی انگوٹھی کو بغیر کسی گھماؤ موڑ کے بغیر گردے کی شکل میں دبائیں ، کمپریسڈ پی ٹی ایف ای مہر کی انگوٹھی کو نالی میں رکھیں ، اور اسے ہاتھ سے آہستہ سے چپٹا کریں۔
4. بحالی مینڈریل کو مہر پر دبائیں اور آہستہ سے مینڈریل کو موڑ دیں۔ اسے 1 منٹ کے لئے چھوڑیں اور مینڈریل کو ہٹا دیں۔ تنصیب مکمل ہے۔
بند نالیوں میں پسٹن مہروں کی تنصیب (شکل 2)
1. صاف اور تیل تمام مہروں ، مہروں اور تنصیب کے اوزار۔
2. ربڑ کی انگوٹھی کو نالی میں رکھیں (محتاط رہیں کہ اسے مروڑ نہ کریں)۔
3. پی ٹی ایف ای سگ ماہی کی انگوٹھی کو گائیڈ آستین پر دبائیں اور سگ ماہی کی انگوٹھی کو کھینچیں۔
4. پسٹن نالی میں پھیلی ہوئی سگ ماہی کی انگوٹھی کو دبائیں۔
5. اصلاحی آستین کو سگ ماہی کی انگوٹھی میں دھکیلیں اور ایک ہی وقت میں اصلاحی آستین کو گھماؤ۔ اصلاح کی آستین کو 1 منٹ کے لئے چھوڑنے کے بعد ہٹا دیں اور تنصیب مکمل ہو جائے۔
نوٹ: 1۔ براہ کرم ہماری کمپنی سے مشورہ کریں اگر ہماری کمپنی کے نمونے میں بیان کردہ مصنوع کسی بند نالی میں انسٹال نہیں کی جاسکتی ہے لیکن کھلی نالی کے ل suitable موزوں نہیں ہے۔
2. پی ٹی ایف ای مہروں کی مذکورہ بالا تنصیب تمام پی ٹی ایف ای مہروں پر لاگو نہیں ہے۔ اگر ضروری ہو تو براہ کرم ہماری کمپنی سے مشورہ کریں۔



























پتہ
نمبر۔
ٹیلی فون
ای میل