|
دباؤ/ایم پی اے |
درجہ حرارت / ° C |
اسپیڈ /ایم /ایس |
میڈیم |
|
≤40 |
-35 ~+100 (این بی آر او رنگ کے ساتھ) |
≤2 |
ہائیڈرولک تیل ، ایملشن ، پانی ، گیس ، وغیرہ۔ |
|
-20 ~+200 (ایف کے ایم او رنگ کے ساتھ) |
1. دستیاب O- رنگ مواد: R01 نائٹریل بٹادین ربڑ (این بی آر) ، R02 فلوروربر (ایف کے ایم) ، وغیرہ۔
2. سگ ماہی رنگ مواد: معیاری مواد PTFE3 اور PTFE4 ؛ دوسرے اختیاری مواد میں PTFE1 ، PTFE2 ، اور PTFE5 شامل ہیں۔
ترتیب دینے کی مثال
آرڈرنگ ماڈل RC2052—80x91 × 4.2- PTFE3- R01 ماڈل DXDXL- میٹریل کوڈ
آرڈرنگ ماڈل RCX17—80X91 × 4.2- HPU ماڈل DXDXL- میٹریل کوڈ
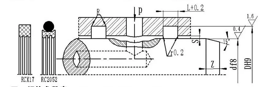
نردجیکرن اور پیرامیٹرز ٹیبل (پیرامیٹر کی حد میں کوئی بھی تصریح دستیاب ہے)
|
شافٹ قطر کی حد D f8 |
خندق قطر ڈی ایچ 9 |
خندق کی چوڑائی l+⁰.2 |
شعاعی کلیئرنس سمیکس |
گول کونے rmax |
چیمفر زیمین |
|
|
0 ~ 10MPA |
10 ~ 20MPA |
|||||
|
6 ~ 18 |
D+49 |
2.2 |
0.15 |
0.1 |
0.4 |
2 |
|
19 ~ 37 |
D+7.5 |
3.2 |
0.2 |
0.15 |
0.6 |
3 |
|
38 ~ 199 |
D+11.0 |
4.2 |
0.25 |
0.2 |
1.0 |
4 |
|
200 ~ 255 |
D+15.5 |
6.3 |
0.3 |
0.25 |
1.3 |
5 |
|
256 ~ 649 |
D+21.0 |
8.1 |
0.3 |
0.25 |
1.8 |
7 |
|
650 ~ 1500 |
D+28.0 |
9.5 |
0.45 |
0.3 |
2.0 |
8 |
نوٹ: شافٹ قطر ≤ 30 ملی میٹر کے لئے ، کھلی نالیوں کی سفارش کی جاتی ہے۔
|
d |
D |
L |
d |
D |
L |
d |
D |
L |
d |
D |
L |
|
8 |
12.9 |
2.2 |
48 |
59.0 |
4.2 |
150 |
161.0 |
4.2 |
350 |
371.0 |
8.1 |
|
10 |
14.9 |
2.2 |
50 |
61.0 |
4.2 |
160 |
171.0 |
4.2 |
360 |
381.0 |
8.1 |
|
12 |
16.9 |
2.2 |
55 |
66.0 |
4.2 |
170 |
181.0 |
4.2 |
370 |
391.0 |
8.1 |
|
14 |
18.9 |
2.2 |
60 |
71.0 |
4.2 |
180 |
191.0 |
4.2 |
380 |
401.0 |
8.1 |
|
15 |
19.9 |
2.2 |
63 |
74.0 |
4.2 |
190 |
201.0 |
4.2 |
390 |
411.0 |
8.1 |
|
16 |
20.9 |
2.2 |
65 |
76.0 |
4.2 |
200 |
215.5 |
6.3 |
400 |
421.0 |
8.1 |
|
18 |
22.9 |
2.2 |
70 |
81.0 |
4.2 |
210 |
225.5 |
6.3 |
420 |
441.0 |
8.1 |
|
20 |
27.5 |
3.2 |
75 |
86.0 |
4.2 |
220 |
235.5 |
6.3 |
450 |
471.0 |
8.1 |
|
22 |
29.5 |
3.2 |
80 |
91.0 |
4.2 |
230 |
245.5 |
6.3 |
480 |
501.0 |
8.1 |
|
24 |
31.5 |
3.2 |
85 |
96.0 |
4.2 |
240 |
255.5 |
6.3 |
500 |
521.0 |
8.1 |
|
25 |
32.5 |
3.2 |
90 |
101.0 |
4.2 |
250 |
265.5 |
6.3 |
520 |
541.0 |
8.1 |
|
28 |
35.5 |
3.2 |
95 |
106.0 |
4.2 |
260 |
281.0 |
8.1 |
550 |
571.0 |
8.1 |
|
30 |
37.5 |
3.2 |
100 |
111.0 |
4.2 |
270 |
291.0 |
8.1 |
600 |
621.0 |
8.1 |
|
32 |
39.5 |
3.2 |
105 |
116.0 |
4.2 |
280 |
301.0 |
8.1 |
630 |
651.0 |
8.1 |
|
35 |
42.5 |
3.2 |
110 |
121.0 |
4.2 |
290 |
311.0 |
8.1 |
650 |
678.0 |
8.1 |
|
36 |
43.5 |
3.2 |
115 |
126.0 |
4.2 |
300 |
321.0 |
8.1 |
670 |
698.0 |
9.5 |
|
38 |
49.0 |
4.2 |
120 |
131.0 |
4.2 |
310 |
331.0 |
8.1 |
700 |
728.0 |
9.5 |
|
40 |
51.0 |
4.2 |
125 |
136.0 |
4.2 |
320 |
341.0 |
8.1 |
750 |
778.0 |
9.5 |
|
42 |
53.0 |
4.2 |
130 |
141.0 |
4.2 |
330 |
351.0 |
8.1 |
800 |
828.0 |
9.5 |
|
45 |
56.0 |
4.2 |
140 |
151.0 |
4.2 |
340 |
361.0 |
8.1 |
1000 |
1028.0 |
9.5 |
نوٹ: مطلوبہ وضاحتیں یہاں درج نہیں ہیں۔ براہ کرم ہماری کمپنی سے رابطہ کریں۔ ہم زیادہ سے زیادہ 2800 ملی میٹر قطر کے ساتھ مصنوعات پیش کرتے ہیں۔





آل راؤنڈ انسٹالیشن اور استعمال ہدایات
روئی چن جانتی ہے کہ مہروں کی مکمل کارکردگی کو یقینی بنانے کے لئے صحیح تنصیب پہلی شرط ہے ، ہم آپ کو ہر مصنوعات ، خاص طور پر پیچیدہ یا غیر معیاری کسٹم حصوں کے استعمال کے بارے میں جامع رہنمائی بھی دیں گے ، وہاں گرافک انسٹالیشن گائیڈ کی تفصیلی رہنما ہوگی۔
ان رہنماؤں کے ساتھ ہائی ڈیفینیشن مرحلہ وار آراگرام اور ٹیکسٹ ہدایات بھی شامل ہیں جو انسٹالیشن سے پہلے معائنہ کے پوائنٹس ، صحیح تنصیب کے صحیح اقدامات ، مطلوبہ ٹولز اور غلط آپریشنوں سے واضح طور پر ظاہر کرتی ہیں جن سے بچنا ضروری ہے ، گویا ہمارے انجینئر سائٹ پر موجود ہیں۔ اس کے علاوہ ، پیچیدہ اسمبلیوں یا سسٹم کے ل we ، ہم پیشہ ورانہ ویڈیو سبق تیار کرتے ہیں جو آپ کے آپریٹرز کو متحرک مظاہرے کے ذریعے بدیہی اور جلدی سے انسٹالیشن کی تکنیک اور احتیاطی تدابیر میں ماسٹر کرنے کی اجازت دیتے ہیں ، جس سے غلط تنصیب کی وجہ سے ابتدائی ناکامی کے خطرے کو بہت حد تک کم کیا جاسکتا ہے۔
پتہ
نمبر۔
ٹیلی فون
ای میل