|
دباؤ/ایم پی اے |
درجہ حرارت / ° C |
اسپیڈ /ایم /ایس |
میڈیم |
|
≤40 |
-35 ~+100 (ملاپ کے ساتھ این بی آر او رنگز) |
≤2 |
ہائیڈرولک تیل ، ایملشن ، پانی ، گیس ، وغیرہ۔ |
-20 ~+200 (مماثل O-rings fkm کے ساتھ) |
1. مناسب او رنگ کے مواد میں شامل ہیں: R01 نائٹریل بٹادین ربڑ (این بی آر) ، R02 فلوروربر (ایف کے ایم) ، وغیرہ۔
2. سگ ماہی رنگ مواد: معیاری مواد PTFE3 اور PTFE4 ؛ دوسرے اختیاری مواد میں PTFE1 ، PTFE2 ، اور PTFE5 شامل ہیں۔
روچن نے خام مال کے آغاز سے ہی آزادانہ تحقیق اور ترقی اور پیداوار کو انجام دیا ہے ، جس سے مصنوعات کی پوری سلسلہ کے کنٹرول کا احساس ہوتا ہے۔
1. انجینئرنگ پلاسٹک اور جامع مواد: ہم پولیٹ ٹرافلووروتھیلین (PTFE) کو بنیادی کے طور پر لیتے ہیں ، اختلاط ، سٹرنگ تک ، مولڈنگ تک ، ہر طرح کے بھرے ہوئے جامع مواد کی ٹیوب اور چھڑی کی آزاد پیداوار ، اور پھر مہروں میں صحت سے متعلق پروسیسنگ۔ یہ مادی خصوصیات کی استحکام اور تخصیص کو یقینی بناتا ہے۔
2. اعلی کارکردگی والی پولیوریتھین ایلسٹومر: ہم پریپولیمر کاسٹنگ سے شروع کرتے ہیں ، آزادانہ طور پر اعلی معیار کے پولیوریتھین پائپ اور چھڑی کے مواد تیار کرتے ہیں ، اور ان کو مختلف قسم کے مہروں میں پروسیس کرتے ہیں ، جو لباس مزاحمت ، دباؤ کے خلاف مزاحمت اور ہائیڈرولیسس مزاحمت میں نمایاں ہیں۔
ترتیب دینے کی مثال
آرڈرنگ ماڈل RC2054—80 × 69 × 4.2- PTFE3- R01 ماڈل-D*D*L- میٹریل کوڈ آرڈرنگ ماڈل RCX18—80 × 69x4.2- HPU ماڈل-D*D*L- میٹریل کوڈ
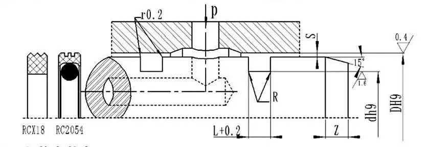
نردجیکرن اور پیرامیٹرز ٹیبل (پیرامیٹر کی حد میں کوئی بھی تصریح دستیاب ہے)
|
یپرچر کی حد ڈی ایچ 9 |
خندق قطر DH9 |
خندق کی چوڑائی L+0.2 |
شعاعی کلیئرنس سمیکس |
گول کونے rmax |
چیمفر زیمین |
|
|
0 ~ 10MPA |
10 ~ 20MPA |
|||||
|
8 ~ 39 |
D-4.9 |
2.2 |
0.15 |
0.1 |
0.4 |
2 |
|
40 ~ 79 |
D-7.5 |
3.2 |
0.2 |
0.15 |
0.6 |
3 |
|
80 ~ 132 |
D-11.0 |
4.2 |
0.25 |
0.2 |
1.0 |
4 |
|
133 ~ 329 |
D-15.5 |
6.3 |
0.3 |
0.25 |
1.3 |
5 |
|
330 ~ 669 |
D-21.0 |
8.1 |
0.3 |
0.25 |
1.8 |
7 |
|
670 ~ 1500 |
D-28.0 |
9.5 |
0.45 |
0.3 |
2.0 |
8 |
|
D |
d |
L |
D |
d |
L |
D |
d |
L |
D |
d |
L |
|
8 |
3.1 |
2.2 |
50 |
42.5 |
3.2 |
170 |
154.5 |
6.3 |
380 |
359.0 |
8.1 |
|
10 |
5.1 |
2.2 |
55 |
47.5 |
3.2 |
180 |
164.5 |
6.3 |
390 |
369.0 |
8.1 |
|
12 |
7.1 |
2.2 |
60 |
52.5 |
3.2 |
190 |
174.5 |
6.3 |
400 |
379.0 |
8.1 |
|
14 |
9.1 |
2.2 |
63 |
55.5 |
3.2 |
200 |
184.5 |
6.3 |
420 |
399.0 |
8.1 |
|
15 |
10.1 |
2.2 |
65 |
57.5 |
3.2 |
210 |
194.5 |
6.3 |
450 |
429.0 |
8.1 |
|
16 |
11.1 |
2.2 |
70 |
62.5 |
3.2 |
220 |
204.5 |
6.3 |
480 |
459.0 |
8.1 |
|
18 |
13.1 |
2.2 |
75 |
67.5 |
3.2 |
230 |
214.5 |
6.3 |
500 |
479.0 |
8.1 |
|
20 |
15.1 |
2.2 |
80 |
69.0 |
4.2 |
240 |
224.5 |
6.3 |
520 |
499.0 |
8.1 |
|
22 |
17.1 |
2.2 |
85 |
74.0 |
4.2 |
250 |
234.5 |
6.3 |
550 |
529.0 |
8.1 |
|
24 |
19.1 |
2.2 |
90 |
79.0 |
4.2 |
260 |
244.5 |
6.3 |
600 |
579.0 |
8.1 |
|
25 |
20.1 |
2.2 |
95 |
84.0 |
4.2 |
270 |
254.5 |
6.3 |
630 |
609.0 |
8.1 |
|
28 |
23.1 |
2.2 |
100 |
89.0 |
4.2 |
280 |
264.5 |
6.3 |
650 |
629.0 |
8.1 |
|
30 |
25.1 |
2.2 |
105 |
94.0 |
4.2 |
290 |
274.5 |
6.3 |
670 |
642.0 |
9.5 |
|
32 |
27.1 |
2.2 |
110 |
99.0 |
4.2 |
300 |
284.5 |
6.3 |
700 |
672.0 |
9.5 |
|
35 |
30.1 |
2.2 |
115 |
104.0 |
4.2 |
310 |
294.5 |
6.3 |
750 |
722.0 |
9.5 |
|
36 |
31.1 |
2.2 |
120 |
109.0 |
4.2 |
320 |
304.5 |
6.3 |
800 |
772.0 |
9.5 |
|
38 |
33.1 |
2.2 |
125 |
114.0 |
4.2 |
330 |
309.0 |
8.1 |
1000 |
972.0 |
9.5 |
|
40 |
32.5 |
3.2 |
130 |
119.0 |
4.2 |
340 |
319.0 |
8.1 |
|
|
|
|
42 |
34.5 |
3.2 |
140 |
124.5 |
6.3 |
350 |
329.0 |
8.1 |
|
|
|
|
45 |
37.5 |
3.2 |
150 |
134.5 |
6.3 |
360 |
339.0 |
8.1 |
|
|
|
|
48 |
40.5 |
3.2 |
160 |
144.5 |
6.3 |
370 |
349.0 |
8.1 |
|
|
|
نوٹ: مطلوبہ وضاحتیں یہاں درج نہیں ہیں۔ براہ کرم ہماری کمپنی سے رابطہ کریں۔ ہم زیادہ سے زیادہ 2800 ملی میٹر قطر کے ساتھ مصنوعات پیش کرتے ہیں۔



پتہ
نمبر۔
ٹیلی فون
ای میل