Qingdao Ruichen Sealing Technology Co., Ltd.
Qingdao Ruichen Sealing Technology Co., Ltd.
مصنوعات
X

ٹی سی آئل سیل

روٹری شافٹ ہونٹ مہر ، جسے عام طور پر تیل کے مہر کے نام سے جانا جاتا ہے ، بیئرنگ ہاؤسنگ میں نصب ہوتے ہیں اور گھومنے والے شافٹ کے نسبت منتقل ہوتے ہیں۔ ایک دھات کا کنکال مدد فراہم کرتا ہے ، اور ایک موسم بہار چکنا کرنے والے رساو اور بیرونی آلودگیوں کے دخل کو روکنے کے لئے سگ ماہی کے ہونٹ پر ریڈیل پری لوڈ کا اطلاق کرتا ہے۔

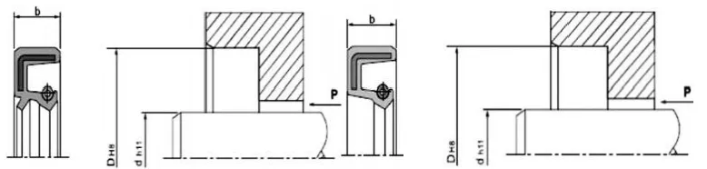
تنصیب کا ڈھانچہ اور ضروریات

1. شافٹ میٹریل: عام طور پر استعمال شدہ کاربن اسٹیل اور سٹینلیس سٹیل ہیں۔ تیز رفتار کے لئے ، کروم چڑھانا سطح پر ، HRC40-45 کا اطلاق ہوتا ہے۔

2. گھومنے والے شافٹ اور نالیوں کا ڈیزائن: شافٹ کی سطح ہموار اور برر فری ہونی چاہئے۔ سرپل مشینی نشانات پمپنگ اثر پیدا کرسکتے ہیں ، جس سے رساو ہوتا ہے۔ یہ تجویز کی جاتی ہے کہ آئل سیل بڑھتے ہوئے علاقے RA0.1-0.5µm کی سطح کی کھردری کے لئے گراؤنڈ ہو ، جو بڑھتی ہوئی رفتار کے ساتھ ہموار ہوجائے۔ تنصیب اور بے ترکیبی میں آسانی کے ل the ، شافٹ اور نالیوں کو چیمفرز یا گول کناروں کے ساتھ ڈیزائن کیا جانا چاہئے اعداد و شمار 1 اور 2 دیکھیں۔

سگ ماہی اونچائی

b

B1 (0.85xb)

ملی میٹر

B2 (B+0.3)

ملی میٹر

r

زیادہ سے زیادہ

7

5.95

7.3

0.5

8

6.80

8.3

0.5

10

8.50

10.3

0.5

12

10.30

12.3

0.7

15

12.75

15.3

0.7

20

17.00

20.3

0.7

چترا 1۔ گروو چیمفر ڈیزائن


d

D3

R

<10

D-1.5

2

10 ~ 20

D-2.0

2

20 ~ 30

D-2.5

3

30 ~ 40

D-3.0

3

40 ~ 50

D-3.5

4

50 ~ 70

D-4.0

4

70 ~ 95

D-4.5

5

95 ~ 130

D-5.5

6

130 ~ 240

D-7.0

8

240 ~ 500

D-11.0

12

500 ~ 800

D-14.0

14

800 ~ 1250

D-18.0

16

گھومنے والے شافٹ کا چنار 2 چیمفر ڈیزائن


روٹری شافٹ ہونٹوں کے مہروں کی کارکردگی کو متاثر کرنے والے عوامل 

ایسے درجنوں عوامل ہیں جو سگ ماہی کے اثر کو متاثر کرتے ہیں۔ خود ہی تیل کی مہر کے علاوہ ، جیسے اس کے مواد اور ساخت ، دوسرے عوامل جیسے درمیانے ، درجہ حرارت ، دباؤ ، چکنا ، رفتار اور سطح کی کھردری بھی سگ ماہی کے اثر کو براہ راست متاثر کرتی ہے ، اور یہ عوامل اکثر ایک دوسرے کے ساتھ تعامل کرتے ہیں۔ مندرجہ ذیل چارٹ صرف صارف کے حوالہ کے لئے ہیں۔

چترا 3۔ تیل کی مہر پر درجہ حرارت کا اثر


تنصیب: محتاط تنصیب تیل مہروں کے مناسب کام کے لئے ایک شرط ہے۔

تنصیب ڈایاگرام (گہا کی تنصیب)

انسٹالیشن کا صحیح طریقہ

قابل اطلاق کام کے حالات

غلط تنصیب کا طریقہ

یہ طریقہ صرف اس وقت لاگو ہوتا ہے جب تیل کے مہر کے آخر کا چہرہ اور گہا کے آخر کا چہرہ فلش ہوتا ہے۔ جب دبانے والا سامان تیزی سے چلتا ہے تو ، تیل کی مہر کو صحیح طریقے سے پوزیشن میں رکھنا چاہئے۔ بصورت دیگر ، غلط فہمی ہوسکتی ہے۔

 

یہ ڈیزائن ان حالات کے لئے موزوں ہے جہاں تیل کے مہر کے آخر کا چہرہ گہا کے آخری چہرے سے کم ہے۔ یہاں تک کہ تیزی سے دبانے کے باوجود ، تیل کی مہر اب بھی اچھی طرح سے پوزیشن میں آسکتی ہے۔ تاہم ، اس قسم کی حقیقت میں شعاعی پوزیشننگ کا فقدان ہے ، لہذا دبانے والے آلہ کی فلیٹ پلیٹ اور پریشر شافٹ کی محوری کھڑے کو ایک خاص صحت سے متعلق حاصل کرنا چاہئے۔

یہ طریقہ ان حالات کے ل suitable موزوں ہے جہاں تیل کے مہر کے آخر کا چہرہ گہا کے آخری چہرے سے کم ہے۔ جب سامان میں جلدی سے دباتے ہو تو ، یہ یقینی بنانا بہت ضروری ہے کہ تیل کی مہر کو صحیح طریقے سے پوزیشن میں رکھا جائے۔ بصورت دیگر ، غلط فہمی ہوسکتی ہے۔


 

 


یہ طریقہ صرف بحالی یا آسان تنصیب کے حالات کے لئے موزوں ہے جہاں دباؤ کا سامان دستیاب نہیں ہے۔ چونکہ تنصیب کے دوران بالکل یکساں دباؤ حاصل نہیں کیا جاسکتا ، لہذا تنصیب کے مختلف مسائل ناگزیر ہیں۔ یہ بنیادی طور پر تنصیب کے دوران شعاعی غلط فہمی کو روکنے کے لئے ڈیزائن کیا گیا ہے ، جو تیل کی مہر کو خراب کرسکتا ہے ، یا تنصیب کے دوران وقفے کی وجہ سے تیل کی مہر ملاوٹ والے حصے (بیرونی دائرے) کے ربڑ کو پہنچنے والے نقصان کو روکنے کے لئے۔ لہذا ، عام طور پر اس تنصیب کے طریقہ کار کی سفارش نہیں کی جاتی ہے۔

 

TC/SC/TB/SB تیل مہر

دونوں میں دھات کے فریم ، ایک موسم بہار ، اور ربڑ کا جسم ہوتا ہے۔ دھات کا فریم مدد فراہم کرتا ہے ، اور موسم بہار سگ ماہی کے ہونٹوں پر شعاعی قوت کا اطلاق کرتا ہے۔ دونوں ٹی سی اور ٹی بی ماڈلز میں ایک ڈسٹ پروف سے معاون ہونٹ ہے ، جو ان ایپلی کیشنز کے لئے موزوں ہے جہاں ایک طرف سگ ماہی کا ذریعہ ہوتا ہے اور دوسری طرف دھول ہوتی ہے۔ ٹی بی/ایس بی کے ماڈلز میں دھات کا بیرونی دائرہ ہوتا ہے ، جس سے تیل کی مہر کو گہا کے اندر زیادہ محفوظ اور عین مطابق ہوتا ہے۔ تاہم ، بیرونی دائرے کی سگ ماہی کی صلاحیت کم واسکاسیٹی اور گیسئس میڈیا کے لئے محدود ہے۔ لہذا ، انسٹالیشن اور استعمال کے دوران بیرونی دائرے میں سیلانٹ لگانے کی سفارش کی جاتی ہے۔

کراس سیکشنل شکل

ماڈل

درخواست

دباؤ

درجہ حرارت

رفتار

میڈیم

مواد

ٹی سی

سگ ماہی ، ڈسٹ پروف

0.03MPA

-30 ~+160

20m/s

چکنا تیل اور چکنائی

این بی آر/ایف کے ایم + کاربن اسٹیل

ایس سی

سگ ماہی

ٹی بی

سگ ماہی ، ڈسٹ پروف

-30 ~+100

25m/s

پانی ، چکنا تیل ، چکنائی

این بی آر + کاربن اسٹیل

ایس بی

سگ ماہی

آرڈر ماڈل TC-D*D*b

تفصیلات

تفصیلات

تفصیلات

تفصیلات

تفصیلات

تفصیلات

تفصیلات

TC-6*17*3.5

TC-9*25*7

TC-10*30*7

TC-12*25*10

TC-13*25*7

TC-14*32*8

TC-15*30*7

TC-7*18*7

TC-10*18*7

TC-11*22*7

TC-12*26*7

TC-13*26*7

TC-14*32*10

TC-15*30*8

TC-8*18*7

TC-10*19*7

TC-I1*25*7

TC-12*28*7

TC-13*28*7

TC-14*35*7

TC-15*30*10

TC-8*20*7

TC-10*20*5

TC-11*30*10

TC-12*28*8

TC-13*30*8

TC-14*35*8

TC-15*32*7

TC-8*22*7

TC-10*20*7

TC-12*19*3

TC-12*30*7

TC-14*24*7

TC-14*40*7

TC-15*32*10

TC-8*22*8

TC-10*22*5

TC-12*20*7

TC-12*30*10

TC-14*25*7

TC-15*22*8

TC-15*35*7

TC-8*25*7

TC-10*22*7

TC-12*21*7

TC-12*32*7

TC-14*26*7

TC-15*24*7

TC-15*35*8

TC-8*25*8

TC-10*22*8

TC-12*22*5

TC-12*32*10

TC-14*27*7

TC-15*25*5

TC-15*35*10

TC-8*30*7

TC-10*22*10

TC-12*22.5*5.5

TC-12*35*7

TC-14*28*7

TC-15*25*7

TC-15*38*7

TC-9*16*5

TC-10*24*7

TC-12*22*7

TC-12*35*10

TC-14*28*8

TC-15*25*8

TC-15*38*8

TC-9*18*7

TC-10*25*5

TC-12*22*8

TC-12.7*22.22*5

TC-14*28*10

TC-15*26*7

TC-15*38*10

TC-9*19*7

TC-10*25*7

TC-12*24*6

TC-12.7*25.4*7

TC-14*29*7

TC-15*27*7

TC-15*40*8

TC-9*20*7

TC-10*25*10

TC-12*24*7

TC-12.7*26*8

TC-14*30*7

TC-15*27*8

TC-15*40*10

TC-9*22*7

TC-10*26*7

TC-12*25*7

TC-12.7*30*8

TC-14*30*10

TC-15*28*7

TC-15*42*7

TC-9*24*7

TC-10*28*7

TC-12*25*8

TC-13*23*7

TC-14*32*7

TC-15*28*10

TC-15*42*8

 




ہاٹ ٹیگز: ٹی سی آئل سیل
انکوائری بھیجیں۔
رابطہ کی معلومات
مسابقتی قیمتیں ، تکنیکی مدد اور تیز ردعمل حاصل کریں۔ اپنی تصریحات کو تیار کردہ سگ ماہی حلوں کے لئے روچین کو بھیجیں۔ مفت نمونے دستیاب ہیں۔
X
ہم آپ کو براؤزنگ کا بہتر تجربہ پیش کرنے ، سائٹ ٹریفک کا تجزیہ کرنے اور مواد کو ذاتی نوعیت دینے کے لئے کوکیز کا استعمال کرتے ہیں۔ اس سائٹ کا استعمال کرکے ، آپ کوکیز کے ہمارے استعمال سے اتفاق کرتے ہیں۔ رازداری کی پالیسی
مسترد قبول کریں